Facebook ги претстави Ray-Ban Stories паметните очила
Facebook ги претстави своите најавувани паметни очила, кои Марк Закерберг при крајот на јули ги најави како наредниот производ којшто ќе го претстават од...
Најновите Samsung Bespoke фрижидери се достапни во Македонија
Скопје, 06. септември 2021. – Компанијата Samsung Electronics соопшти дека продажбата на новите Bespoke фрижидери официјално започна во Македонија. Овој револуционерен апарат за домаќинство...
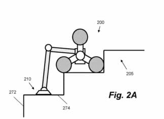
Dyson има патент за робот правосмукалка која може да се качува по скали
Познатиот британски производител на правосмукалки и слични производи за домаќинството, има поднесено патент за робот производи кои може да се качуваат по скали, да...
Погледнете ја пошироката слика – Galaxy Z Fold3 5G и Z Flip3 5G пристигнаа...
Скопје, 27. 08. 2021. – Сега е официјално, од денес во продажба се Galaxy Z Fold3 5G и Galaxy Z Flip3 5G, два мултитаскинг...
Новото ажурирање за HUAWEI WATCH 3 серијата нуди офлајн слушање на музика, контрола на...
Паметните часовници од серијата HUAWEI WATCH 3 нудат исклучителен дизајн и квалитет на материјали и изработка, како и моќна софтверска платформа, која сега обезбедува...
Samsung може да ги блокира нивните телевизори кои се украдени
За време на протести кои се случуваат изминатиот период во Јужна Африка, како и на повеќе места во светот, ограбен бил склад на Samsung...
HUAWEI WATCH 3 Pro ја освои EISA наградата за најдобар паметен часовник
Huawei Consumer Business Group (CBG) доби престижна награда од Експертската асоцијација за слика и звук (EISA), која обединува специјализирани списанија, веб-страници и новинари кои...
Facebook ја претстави виртуелната платформа за состаноци Horizon Workrooms
Horizon Workrooms е најновиот производ од Facebook, поточно Oculus делот, наменет и инспириран од ситуацијата во која се наоѓа светот изминатите година и пол....
Серијата HUAWEI WATCH 3 нуди богатство од интерактивни дизајни – од истражување на вселената...
Главната улога на паметниот часовник е да даде поголема контрола врз нашите животи преку сѐ помодерни и корисни карактеристики. Но, часовникот е и додаток...
Ново доживување со користење на паметните часовници Galaxy Watch4 и Galaxy Watch4 Classic
Скопје, 11. Август 2021 – Компанијата Samsung Electronics ги претстави новите модели на часовници, Galaxy Watch4 и Galaxy Watch4 Classic и со тоа започна...
Samsung го претстави Exynos W920 наменет за паметните часовници и сличните уреди
На еден ден пред Unpacked настанот од Samsung, од компанијата го претставија нивниот најнов чип кој е наменет за уредите за носење, односно паметните...
Nothing го претстави својот прв производ, Ear (1) слушалките
Еден од основачите на познатиот OnePlus бренд, Карл Пеи, започна со работа со нова компанија во Лондон наречена Nothing. Доста големи најави доаѓаат од...











































