По успешноста на одличниот таблет/лаптоп уред Surface Pro 3, се чини Microsoft добива нови идеи со кои сака да ја освежи и мобилната телефонија. Последниот новитет на американскиот гигант, кој држи неверојатно голем број на патенти, е нов механизам за отворање/затворање на смартфони, односно таблети, треба да овозможи паметни телефони со два екрани, кои лесно може да се склопат кога не се во користење.
Првата идеја која доаѓа на памет е обновувањето на Communicator линијата на Nokia паметните телефони, која наликуваше буквално на мини компјутер. На овој начин, Microsoft се чини ќе може да понуди дури и десктоп околина во мало пакување, што лесно може да се овозможи со новиот Windows 10, кој ќе биде ист на телефоните и компјутерите. Заедно со преносливата тастатура, која Microsoft ја претстави неодамна и за која пишувавме тука, ова може да биде одлично решение за оние кои често патуваат.
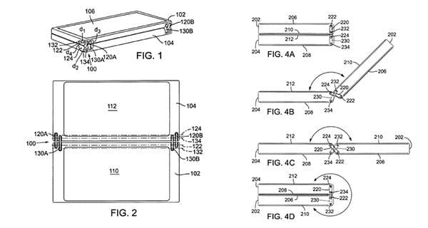
Но, да се вратиме на самиот механизам, кој според првите нацрти, треба да овозможи целосно рамно отворање на уредот, односно паметниот телефон, без испакнатина во средината, како што е случај со многу од старите мобилни телефони на отворање. Сличен систем има новиот Lenovo Yoga 3 Pro, кој не само што може да се отвори 180 степени, туку може и да се сврти 360 степени и да се користи како таблет.
Иако многу од овие иновации не стигнуваат никогаш на пазарот, овој патент претставува одлична можност Microsoft да се диференцира како производител на паметни телефони за бизнис корисниците, нешто што се обидуваат да го направат и со Windows 10 и што од маркетинг дивизијата на Lumia и го кажаа последниве неколку месеци, односно по купувањето од страна на Microsoft.
Ваквиот механизам инаку ќе биде идеален за зголемување на работниот простор на два поголеми екрани и извршување потешки работни задачи на мобилниот телефон. Доколку уредот се понуди и со Intel процесор, како новиот Atom X3, ќе може без проблем да ги користи и сите десктоп апликации, односно програми за Windows и да биде целосно компјутерско/таблет/смартфон решение за оние кои патуваат…
Но, ова е само замисла како сето тоа би можело да изгледа и да функционира, а дали ќе го види светлото на денот, веројатно ќе дознаеме наскоро, односно во Септември, кога треба да бидат претставени новите Lumia телефони од високата класа.
Извор: Windows Central











































