Оваа година покажа дека Microsoft сериозно се „обложува“ на вештачката интелигенција која се повеќе ќе ја гледаме интегрирана во производите и сервисите од компанијата.
Патент поднесен од Microsoft, забележан од Neowin, ни открива дека од компанијата дури размислуваат вештачката интелигенција да ја интегрираат во ранци.
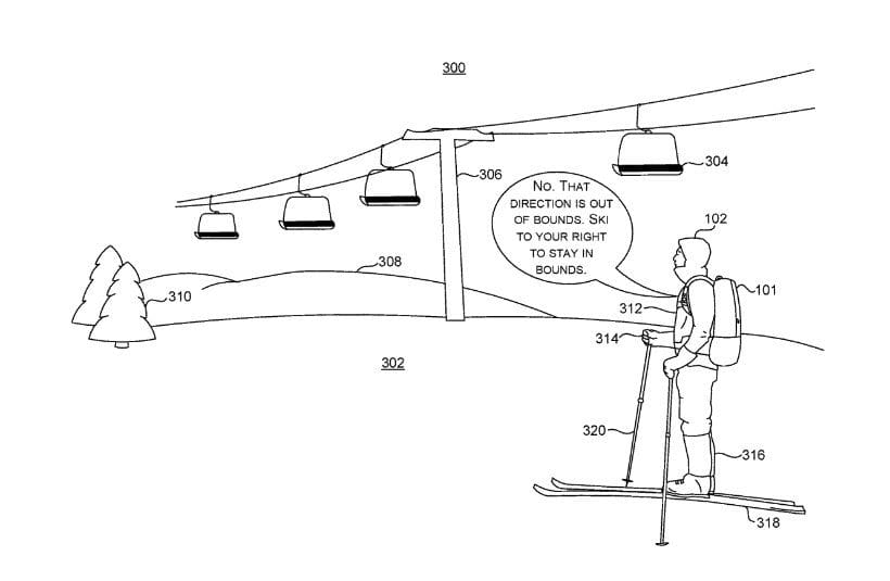
Од патентот може да се види класичен ранец на кој се поставени повеќе сензори, како камера и микрофон, меѓу другите. Со тоа, овој асистент во ранецот ќе може да биде „свесен“ за околината, а со тоа да му помогне на корисникот во одредени ситуации.
Еден пример кој се дава е предупредување од асистентот кога корисникот сака да оди во погрешен правец додека скија или додека планинари.

Дополнително се истакнува дека овој асистент би ги имал и останатите можности кои се стандардни, како што е проверка на временската прогноза, додавање на настани во календарот и слично.
Со оглед на бројот на уреди кои се достапни во денешно време, не сме баш сигурни во логиката на еден ваков производ, можеби има, но сепак се работи за патент, а тие најчесто не ги гледаме во вистински производи достапни на пазарот.











































