Ford поднесе интересен патент за којшто дечките кој го имаат откриено, односно од AutoGiude, сметаат дека тешко дека некогаш ќе го видиме во некој од комерцијалните автомобили. Причината за тоа е што начинот на којшто функционира, не овозможува доволна гаранција за безбедност при возење на автомобилот, односно не може да се гарантира дека механизмот за превиткување ќе остане во својата позиција и нема да се превитка.
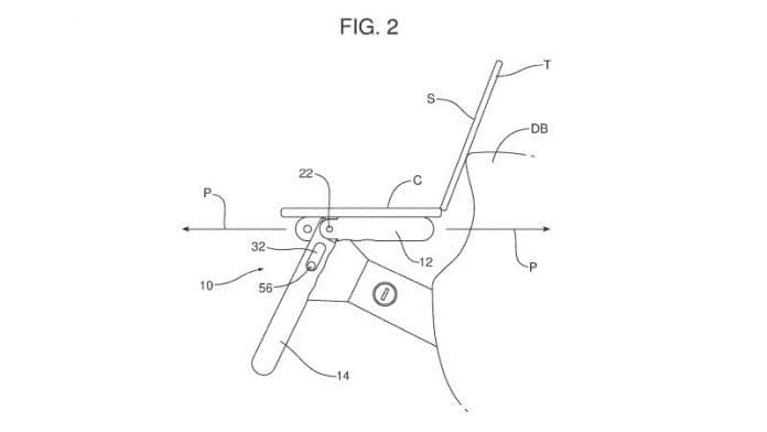
Инаку, патентот прикажува волан поделен на два дела, односно кој може да се превитка на горната страна со што отвара поголем простор за користење на лаптоп. Самиот волан, односно превитканиот дел е наменет како подлога за лаптопот, што мора да се признае е доста интересно и корисно.

Во патентот се истакнува дека овој концепт не е наменет да се користи за време на возење на возилото, доколку на сите не им е јасно тоа. Наместо тоа, концептот е наменет за бизнис корисниците кои често завршуваат одредена работа од својот автомобил, на пример кога ќе стигнат на некој состанок порано за да ги направат своите последни подготовки.
Во ова време кога сите ние сме константно во некаква „фрка“, не е чудно што производителите на разни производи смислуваат начини како да излезат во пресрет на оваа наша „нездрава“ навика и стил на живот. Добро е што полека гледаме воведување на нови трендови каде нашето време поминато на некој од паметните уреди, се мери и прикажува со цел да го намалиме (достапно во новите верзии од Android и iOS од оваа есен).








































