
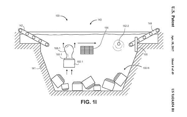
Најголемата светска онлајн продавница последниве неколку години дефинитивно извади супер идеи за тоа како размислува да ги испорача пратките на своите клиенти, но новиот патент на Amazon е веројатно најинтересниот досега. Имено, тие планираат подводни магацини, со една единствена цел – сместување на повеќе кутии во простор со иста големина.
Поточно, новиот магацин ќе може да смести многу повеќе кутии (пратки) од стандарден магацин, бидејќи низ него нема да има потреба да се движат луѓе. Ова значи дека тој ќе биде целосно автоматизиран, односно внесувањето и изнесувањето на пратки ќе се врши со надворешна контрола.
Просторот за пратки во магацинот пак би се зголемил бидејќи нема да има потреба низ него да се движат луѓе или возила (вилушкари), а лесно би било тие да пристигнат на површината – едноставно би испливале над водата, контролирани од вештачки генерирани водни струи.

Овој патент делува многу чудно и не мора да значи дека Amazon дефинитивно ќе го изгради, но од друга страна само покажува дека гигантот не престанува да размислува за оптимизирање на начините на чување и испорака на пратките.
Неодамна тие претставија концепт за испорака на пратки со дронови, кој наскоро би можел да почне и да функционира, колку и да делува чудно и неизводливо во моментов.
Јас само би рекол дека е голема штета што сервисите на Amazon не се достапни на нашиот пазар.
Извор: CNET, Business Insider, Fortune





































